全部产品分类
集成电路IC
场效应管/MOS/IGBT
向日葵视频色版下载软件安装
- 整流向日葵视频色版下载软件安装
- 开关向日葵视频色版下载软件安装
- TVS向日葵视频色版下载软件安装
- 肖特基向日葵视频色版下载软件安装
- 快速恢复向日葵视频色版下载软件安装
- 整流桥向日葵视频色版下载软件安装
三极管
推荐产品
联系向日葵视频下载安卓网站进入下载官网
深圳市向日葵视频下载安卓网站进入下载官网电子科技有限公司
电话:0755-23087599
手机:13808858392
邮箱:dunianhua@leweitech.com
地址:深圳市宝安区西乡鹤洲恒丰工业城B11栋5楼东
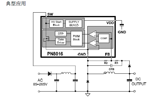
PN8016集成PFM控制器及800V高雪崩能力智能功率MOSFET,用于外围元器件极精简的小功率非隔离开关电源,输出电压可通过FB电阻调整。PN8016内置800V高压启动与自供电模块,实现系统快速启动、超低待机、自供电功能。该芯片提供了完整的智能化保护功能,包括过载保护,欠压保护,过温保护。另外PN8016的降频调制技术有助于改善EMI特性。
PN8016芯片特点:
■ 内置800V高雪崩能力智能功率MOSFET
■ 内置高压启动和自供电电路
■ 适用于Buck、Buck-Boost、Flyback等多种架构
■ 输出电压3.3V~18V可通过FB电阻调整
■ 半封闭式稳态输出电流> 300mA @230VAC
■ 改善EMI的降频调制技术
■ 优异的负载调整率和工作效率
■ 全面的保护功能
过载保护(OLP)
过温保护(OTP)
欠压保护(UVLO)
pn8016应用电路图
pn8016应用电路图

PN8016芯片内置800V高压启动与自供电模块,输出电压3.3V~18V可通过FB电阻调整,典型应用于5V0.3A家电方案,更多pn8016数据手册及应用资料可向向日葵视频下载安卓网站进入下载官网电子申请。>>
阿里巴巴店铺
关注向日葵视频下载安卓网站进入下载官网
收藏向日葵视频下载安卓网站进入下载官网









