全部产品分类
集成电路IC
场效应管/MOS/IGBT
向日葵视频色版下载软件安装
- 整流向日葵视频色版下载软件安装
- 开关向日葵视频色版下载软件安装
- TVS向日葵视频色版下载软件安装
- 肖特基向日葵视频色版下载软件安装
- 快速恢复向日葵视频色版下载软件安装
- 整流桥向日葵视频色版下载软件安装
三极管
推荐产品
联系向日葵视频下载安卓网站进入下载官网
深圳市向日葵视频下载安卓网站进入下载官网电子科技有限公司
电话:0755-23087599
手机:13808858392
邮箱:dunianhua@leweitech.com
地址:深圳市宝安区西乡鹤洲恒丰工业城B11栋5楼东
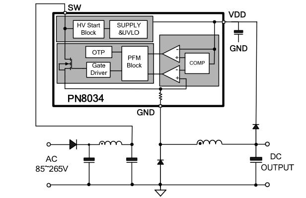
PN8034集成PFM控制器及650V高雪崩能力智能功率MOSFET,用于外围元器件极精简的小功率非隔离开关电源。PN8034非隔离acdc芯片内置高压启动模块,实现系统快速启动、超低待机功能。该芯片提供了完整的智能化保护功能,包括过流保护,欠压保护,过温保护。另外PN8034的降频调制技术有助于改善EMI特性。
pn8034电源芯片特征
■ 内置650V高雪崩能力智能功率MOSFET
■ 内置高压启动电路
■ 优化适用于12V输出非隔离应用
■ DIP-7封装半封闭式稳态输出功率3.6W @230VAC
■ SOP-7封装半封闭式稳态输出功率3.0W @230VAC
■ 改善EMI的降频调制技术
■ 优异的负载调整率和工作效率
■ 全面的保护功能:过流保护(OCP)、过温保护(OTP、欠压保护(UVLO)
封装及典型功率

| 产品型号 | 输入电压 | 稳态功率 | 峰值功率 |
| PN8034 SOP-7 | 150-265 VAC | 3W(12V250mA) | 4.2W(12V350mA) |
| 85-265 VAC | 2.4W(12V200mA) | 3.6W(12V300mA) | |
| PN8034 DIP-7 | 150-265 VAC | 3.6W(12V300mA) | 4.8W(12V400mA) |
| 85-265 VAC | 3.0W(12V250mA) | 4.2W(12V350mA) |
典型应用

应用领域
■ 非隔离辅助电源
PN8034电源芯片是宽输出范围非隔离交直流转换芯片,典型应用于12V非隔离输出 具有良好的特性提升整机系统的稳定性,降低整机失效率,广泛应用于家电电源、待机电源等领域,更多PN8034_12V非隔离acdc芯片产品手册及应用资料请向向日葵视频下载安卓网站进入下载官网电子申请。>>
阿里巴巴店铺
关注向日葵视频下载安卓网站进入下载官网
收藏向日葵视频下载安卓网站进入下载官网









